487
Exercices de-ci de-là du BV 487 et solutions des 484-3, 485-1, 485-2, 485-3 et 485-4
Exercices
Exercice 487-1 : Daniel Reisz – Auxerre (d’après la Compétition
mathématique des pays Baltes 2004)
Soit un rectangle ABCD de dimensions $3 \times 4$. Sur chaque coté on choisit un point. Ces quatre points sont les sommets d’un quadrilatère convexe dont les cotés mesurent $x$, $y$, $z$ et $t$.
Encadrer au mieux la somme $x^2 + y^2 + z^2 + t^2$.
voir l’article où est publiée la solution
Exercice 487-2 : Pythagore sans les carrés... ?
Démontrer que : dans un triangle rectangle, la somme des côtés de l’angle droit est égale à la somme des diamètres des cercles inscrit et circonscrit.
voir l’article où est publiée la solution
Exercice 487-3 : Arithmétique
Trouver toutes les solutions de l’équation $6 (a ! + 3) = b^2 + 5$ où $a$ et $b$ sont des entiers naturels.
Exercice 487-4
$ABCD$ est un rectangle, $AEF$ un triangle équilatéral où $E$ et $F$
sont sur $[DC]$ et $[CB]$.
Quelle relation lie les aires des triangles $ADE$, $AFB$ et $ECB$ ?
voir l’article où est publiée la solution
Solutions
Exercice 484-3 : Question du concours australien de mathématiques 2008 (transmis par Georges Lion)
Les entiers positifs $x$ et $y$ vérifient $3x^2 - 8y^2 + 3x^2y^2 = 2 008$. Quelle est la valeur de $xy$ ?
Solution de Bernard Cottignon (Coursan)
On utilise : $3x^2 - 8y^2 + 3x^2y^2 = (3x^2 - 8) (y^2 + 1) + 8$.
D’où : $3x^2 - 8y^2 + 3x^2y^2 = 2 008 \iff (3x^2 - 8) (y^2 + 1) = 2 000$.
$2 000 = 2^4 \times 5^3$ donc $2 000$ possède $(4 + 1) \times (3 + 1) = 20$ diviseurs qui se regroupent deux par deux.
On a les dix couples : $(1 ; 2 000)$, $(2 ; 1 000)$, $(4 ; 500)$, $(5 ; 400)$, $(8 ; 250)$, $(10 ; 200)$, $(16 ; 125)$, $(20 ; 100)$, $(25 ; 80)$, $(40 ; 50)$.
Parmi les $20$ diviseurs de $2 000$, seulement quatre peuvent s’écrire $y^2 + 1$ avec $y$ entier positif : ce sont les nombres $2$, $5$, $10$ et $50$ qui correspondent respectivement aux valeurs $1$, $2$, $3$ et $7$ de $y$.
1o cas : $y = 1$, $y^2 + 1 = 2$ d’où : $3x2 - 8 = 1 000$ et donc ne mène à aucune solution $x$ entière.
2o cas : $y = 2$, $y^2 + 1 = 5$ d’où : $3x2 - 8 = 400$ et donc ne mène à aucune solution x entière.
3o cas : $y = 3$, $y^2 + 1 = 10$ d’où : $3x^2 - 8 = 200$ et donc ne mène à aucune solution x entière.
4o cas : $y = 7$, $y^2 + 1 = 50$ d’où : $3x^2 - 8 = 40$ d’où x = 4.
Seules les valeurs $x = 4$ et $y = 7$ sont solutions ; on en déduit que le produit $xy$ est unique : $xy = 28$.
Autre solution : Georges Lion (Wallis).
Exercice 485-1 : Formule de grimoire ?
Dans le trapèze ci-contre, $B$, $b$, $c$ et $d$ désignent les longueurs des côtés. On note $p$ son demi-périmètre et $S$ son aire.
Montrer que $S = \frac {B+b} {B-b} \sqrt {(p-B)(p-b)(p-b-c)(p-b-d)}$.
Solution de Franck Gautier (Pérignat-lès-Sarliève)
On peut calculer l’aire du trapèze avec la formule classique $s = \frac {B+b} {2} \times h$.
On peut aussi la calculer à partir de la hauteur $h$ en disant que c’est l’aire du rectangle plus l’aire du triangle obtenu avec les deux triangles qui sont à gauche et à droite. Ce qui donne : $S= B \times h + \frac {B-b} {2} \times h$.
On tire de ces deux formules, les deux suivantes :$ \frac {B+b}{2}= \frac {S} {h}$ et $ \frac {B-b}{2}= \frac {S -bh} {h}$
et en faisant le rapport $ S = \frac {B +b} {B-b} \times (S- Bh)$,
On reconnaît dans $S - Bh$ l’aire des triangles latéraux, c’est-à-dire l’aire d’un triangle de côtés $B - b$, $c$, $d$. On note $p’$ le demi-périmètre de ce triangle. La formule de Héron permet d’écrire :
$$S- bh = \sqrt {p’(p’-B+b)(p’-c)(p’-d)}.$$
En remarquant que $p’ = p - b$, on obtient la formule du « grimoire » :
$$ S = \frac {B+b} {B-b} \sqrt {(p-B)(p-b)(p-b-c)(p-b-d)}.$$
Remarque.
Pour le découpage, on peut tout aussi bien directement partager le trapèze par le triangle $ADE$ et le parallélogramme $ABCE$
(figure ci-contre) et retrouver la proportion $\frac {B+b} {B-b}$ comme suit :
L’aire du parallélogramme est double de celle du triangle $ACE$. Or les aires de $ACE$ et de $ADE$, triangles de même hauteur, sont proportionnelles à leurs bases.
Ainsi $ (ABCE) = \frac {2b} {B-b} (ADE) $ et $ S = (ABCD) = \left (1+ \frac {2b} {B-b} \right ) (ADE) = \frac {B+b} {B-b} (ADE)$.
Autres solutions : Albert Marcout (Sainte Savine), Frédéric de Ligt
(Montguyon), Pierre Lapôtre (Calais), Louis-Marie Bonneval
(Poitiers), Jean Théocliste (Valence), Bernard Collignon (Coursan).
Nota.
– D’autres démonstrations utilisaient le triangle dont le trapèze est le « tronc ».
– Pierre Renfer fait remarquer que si $b = 0$, le trapèze dégénère en triangle et la formule coïncide avec celle de Héron et que, par ailleurs, la formule rappelle aussi celle de Brahmagupta pour l’aire S d’un quadrilatère inscriptible de côtés $a$, $b$, $c$, $d$ :
$$ S = \sqrt {(p-a)(p-b)(p-c)(p-d)}.$$
Le trapèze est un quadrilatère inscriptible si et seulement si $c = d$. Dans ce cas la formule du grimoire donne :
$$ S = \frac {B+b} {B-b} \sqrt {(p-B)(p-b)} (p-b-c) = \frac {B+b} {2} \sqrt {(p-B)(p-b)}$$
et la formule de Brahmagupta donne :
$$ S= (p-c) \sqrt {(p-B)(p-b)} = \frac {B+b} {2} \sqrt {(p-B)(p-b)}.$$
Exercice 485-2 (Georges Lion – Wallis)
Soit $ABC$ un triangle d’aire $S$. Démontrer la relation : $AB^2+AC^2+BC^2 \geq 4S \sqrt 3$.
Solution de Pierre Renfer (Saint Georges d’Orques)
Soit $I$ le milieu de $[BC]$. On sait que $AB^2+AC^2 = 2AI^2 + \frac {1}{2} BC^2$.
Si on laisse $B$ et $C$ fixes et qu’on déplace $A$ sur une parallèle à $(BC)$, alors l’aire $S$ reste invariante et $AB^2 + AC^2$ est minimal si $AI$ est minimal, c’est-à-dire si $A$ est sur la médiatrice de $[BC]$.
On est donc ramené à démontrer l’inégalité pour les triangles isocèles en $A$.
Soit $h$ la hauteur $AI$ issue de $A$ et $a$ le côté $BC$.
L’inégalité à démontrer s’écrit alors : $\frac {3}{2} a^2 + 2 h ^2 \geq 2ah \sqrt 3.$
Cette inégalité équivaut à $3a^2 + 4 h^2 - 4ah \sqrt 3 \geq 0$.
Elle est bien vérifiée puisque le premier membre est le carré de $2h - a \sqrt 3$.
L’égalité a lieu si et seulement si $ h = \frac {a \sqrt 3} {2}$, ce qui correspond aux triangles équilatéraux.
Autres Solutions : Jean-Claude Carréga (Lyon), Dominique Roux
(Espaty), Albert Marcout (Sainte Savine), Frédéric de Ligt
(Montguyon), Pierre Lapôtre (Calais), Louis Marie Bonneval
(Poitiers), Franck Gautier (Pérignat-lès-Sarliève), Jean Théocliste
(Valence), Pierre Renfer (Saint Georges d’Orques), Georges Lion
(Wallis).
Nota.
Pour cet exercice posé aux olympiades mathématiques internationales de Budapest en 1961, les réponses ont non seulement été nombreuses, mais souvent multiples et différentes à plus d’un détail près. Un florilège vous est
proposé en ligne sur le site de l’association : LIEN.
Une autre démonstration, basée sur la figure ci-contre est disponible sur l’excellent site cut-the-knot :
http://www.cut-the-knot.org/Curriculum/Geomefry/Veitzenbock.shtml
Exercice 485-3 : Arithmétique
Démontrer le résultat suivant : Tout nombre entier qui est une puissance d’une somme de deux carrés est lui-même une somme de deux carrés.
Solution de Frédéric de Ligt (Montguyon)
On peut le montrer classiquement par récurrence en utilisant l’identité :
$$(X^2+Y^2)(x^2+y^2)=(Xx-Yy)^2+(Xy+xY)^2.$$
Mais on peut aussi passer par les propriétés des modules des nombres complexes.
Si $z = x + iy$, $ {| z|}^2 = x^2 + y^2$. Pour $x$, $y$ entiers relatifs et $n$ entier naturel, on a donc :
avec $x_n$ et $y_n$ eux-mêmes entiers relatifs puisque résultant de produits, de sommes et de différences des entiers relatifs $x$ et $y$.
Autres solutions : Jean-Claude Carréga (Lyon) , Albert Marcout (Sainte
Savine), Louis Marie Bonneval (Poitiers), Bernard Collignon
(Coursan), Pierre Lapôtre (Calais), Jean Gounon (Chardonnay), Odile
Simon (La Prénessaye), Pierre Renfer (Saint Georges d’Orques).
Nota.
Odile Simon et Pierre Renfer font la remarque que, de façon plus générale, on sait que le produit de sommes de deux carrés est encore une somme de deux carrés ; et Pierre Renfer précise que le résultat classique le plus complet indique qu’un entier est somme de deux carrés si et seulement si les facteurs premiers congrus à 3 modulo 4 interviennent dans sa décomposition avec un exposant pair.
Remarque.
Pour les démonstrations utilisant la récurrence, on peut utiliser indifféremment l’une ou l’autre des deux identités suivantes :
$$ (X^2+Y^2)(x^2+y^2)=(Xx+Yy)^2+(Xy-xY)^2,\ \ \ \ \ \ \ (1)$$
$$ (X^2+Y^2)(x^2+y^2)=(Xx-Yy)^2+(Xy+xY)^2.\ \ \ \ \ \ \ (2)$$
De la première, on obtient successivement :
$ (x^2+y^2)^4 = {\left ( (x^2+y^2)^2 \right )} ^2 + 0^2 ; etc.$
De la seconde il vient :
$$ (x^2+y^2)^2 = (x^2-y^2)^2 + (2xy)^2 $$
bien connue des pythagoriciens ;
$(x^2+y^2)^4 = (x^4-6x^2y^2+y^4)^2 + (4x^3y-4xy^3)^2 ; etc.$
qui sont les mêmes expressions que celles obtenues par l’utilisation des nombres complexes ; utilisation qui n’est pas sans rappeler celle de la formule de Moivre pour les formules trigonométriques.
Exercice 485-4 : Jean Théocliste – Valence (brevet supérieur
Grenoble 1937)
Pour $n \in \mathbb {N^*}$, on note
$$S_n = \frac 12 +\frac 24 +\frac 38 + \ldots + \frac {n}{2^n} = \frac 12 +\frac 2{2^2} +\frac 3{2^3} + \ldots + \frac {n}{2^n}$$
Écrire $S_n$ sous forme condensée.
En déduire : a) $S_n < 2$
b) la limite de $S_n$ quand $n$ tend vers $+\infty$.
Solution de Pierre Renfer (Saint Georges d’Orques)
Soit $f$ la fonction définie par : $f(x) = \sum_{k=0}^n x^k = \frac 1 {1-x} - \frac {x^{n+1}} {1-x}$, pour $x \neq 1$.
En dérivant les deux membres, on trouve :
$$ f’(x) = \sum_{k=1}^n kx^{k-1} = \frac 1 { {(1-x)}^2 } - \frac {(n+1)x^n} {1-x} - \frac {x^{n+1}} { {(1-x)}^2 }.$$
On en déduit que :
$$ S_n = \frac 12 \sum_{k=1}^n \frac k {2^{k-1}} = \frac 12 f’ \left ( \frac 12 \right ) = 2- \frac {n+1} {2^n} - \frac 2 {2^{n+1}} = 2- \frac {n+2} {2^n}.$$
Donc $S_n < 2$ et $ \underset {n \to + \infty} {lim} S_n = 2$.
On peut interpréter ce résultat en termes probabilistes :
On lance indéfiniment une pièce régulière et X désigne le nombre de lancers
nécessaires jusqu’à l’apparition du premier Pile.
La valeur 2 obtenue comme limite de $S_n$ est l’espérance mathématique de la variable aléatoire X.
Deux lancers sont en moyenne nécessaires pour faire apparaître Pile.
Solution de Frédéric de Ligt (Montguyon)
On note $A_n = \frac 12 +\frac 14 +\frac 18 + \ldots + \frac 1{2^n} = 1 - \frac 1{2^n}$. On a alors
$ \begin{align} S_n &= A_n + (A_n-A_1) + \ldots + (A_n-A_{n-1}) \\ &= nA_n - (A_1 + A_2 + \ldots + A_{n-1} )\\ &= n \left (1 - \frac 1 {2^n} \right ) - \left (1 - \frac 1 {2^1} \right ) - \ldots - \left (1 - \frac 1 {2^{n-1}} \right ) \\ &= 1 - \frac n {2^n} + \frac 1 {2^1} + \ldots + \frac 1 {2^{n-1}} = 1 - \frac n {2^n} + 1 - \frac 1 {2^{n-1}} = 2 - \frac {n+2} {2^n}.\\ \end {align} $
a) Il est alors clair que $S_n < 2$ puisque $\frac {n + 2} {2^n}$ est positif.
b) Si on ne connaît pas la fonction logarithme on peut par exemple prouver par récurrence que $2^n > n^2$ pour $n > 4$.
C’est évident pour $n = 5$. Si on suppose vraie l’inégalité au rang $n > 4$,on a
$$ 2^{n+1} = 2 \times 2^n > 2n^2 > (n+1)^2$$
Par conséquent $0 < \frac {n+2} {2^n} < \frac 4 {n+2}$ et, par application du théorème du gendarme, on conclut que $S_n$ tend vers 2 quand n tend vers $+ \infty$.
Autres solutions : Jean-Claude Carréga (Lyon) , Albert Marcout (Sainte
Savine), Louis-Marie Bonneval (Poitiers), Bernard Collignon
(Coursan), Pierre Lapôtre (Calais), Jean Gounon (Chardonnay), Odile
Simon (La Prénessaye), Pierre Martin (Épinay sur Orge), Michel
Sariwuy (Mende), Jean Théocliste (Valence).
Nota.
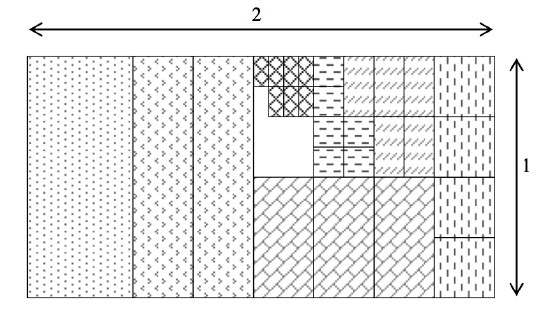
Michel Sarrouy propose également une splendide illustration géométrique en couleur, disponible sur le site LIEN et dont voici un aperçu en noir et blanc :
déjà représentés : $ \frac 12 + 2 \times \frac 14 + 3 \times \frac 18 + 4 \times \frac 1{16} + 5 \times \frac 1{32} + 6 \times \frac 1{64} + 7 \times \frac 1{128}$.
<redacteur|auteur=103>
