478
Cerfs-volants et axes de symétrie pas de temps à perdre en classe de sixième…
François Drouin [1].
Nous sommes convaincus de l’intérêt d’une introduction précoce de la symétrie
centrale en classe de cinquième. Le parallélogramme est présenté comme un
quadrilatère possédant un centre de symétrie. Les propriétés de la symétrie permettent
de justifier les propriétés des parallélogrammes (diagonales se coupant en leur milieu,
côtés opposés parallèles et de même longueur, angles opposés de même mesure).
Elles seront mises plus tard à contribution pour l’égalité des angles alternes-internes
délimités par deux droites parallèles coupées par une droite sécante, puis pour la
somme des angles d’un triangle.
Et en classe de sixième ? Ne pourrions-nous pas prendre appui de façon tout aussi
précoce sur la symétrie orthogonale ?
L’exposé relatait un travail mis en œuvre deux années de suite en classe de sixième.
L’envoi de l’ensemble des transparents présentés à Besançon peut m’être demandé à
l’adresse « francois.drouin@ac-nancy-metz.fr ». Ils sont téléchargeables.
Très tôt dans l’année, les élèves ont rencontré les droites parallèles et perpendiculaires
à partir de tracé de rectangles et de carrés et ont analysé les trois constructions mises
en œuvre dans leurs tracés.
L’étude de la symétrie orthogonale était le second chapitre de géométrie rencontré.
Suite au travail présenté lors de précédentes Journées Nationales par nos collègues
belges Michel Demal et Danielle Popeler, l’aspect retournement de la figure était
privilégié et l‘aspect pliage abandonné.
Les élèves ont ensuite recherché les triangles possédant un axe de symétrie, c’est-à-dire
reprenant leur place après retournement autour de l’axe de symétrie. Un triangle
isocèle est alors défini comme un triangle qui a un axe de symétrie.
Les propriétés de la symétrie permettent alors de justifier les propriétés des triangles
isocèles : ils ont deux côtés égaux, deux angles de même mesure, l’axe de symétrie
passe par le milieu de la « base », l’axe de symétrie partage l’angle « au sommet »
en deux angles de même mesure, l’axe de symétrie est perpendiculaire à la « base ».
Différents tracés de triangles isocèles sont proposés.
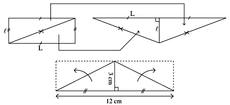
Un « découpage-réassemblage » de deux parties d’un rectangle permet de réaliser deux
triangles symétriques donc de même aire et de justifier que l’aire d’un triangle
rectangle et l’aire d’un triangle isocèle sont la moitié de l’aire d’un rectangle.
Ces remarques sont ensuite utilisées pour trouver l’aire de triangles isocèles puis
quelconques (en découpant en deux triangles rectangles).
Une diagonale d’un quadrilatère détermine deux triangles. Des aires de quadrilatères
sont ensuite cherchées.
Suite à cette première rencontre avec des quadrilatères, le cerf-volant est présenté
comme un quadrilatère dont une diagonale est axe de symétrie.
Les propriétés de la symétrie permettent alors de justifier les propriétés des cerfs-volants
:
Le cerf-volant possède deux paires de cotés consécutifs égaux, deux angles
opposés égaux, deux diagonales perpendiculaires (plus exactement, les droites qui
portent les diagonales sont perpendiculaires), la diagonale axe de symétrie coupe
l’autre diagonale en son milieu et les deux angles qu’elle traverse en deux angles de
même mesure.
Divers dessins de cerfs-volants peuvent être proposés. L’aire d’un cerf volant peut se
calculer à partir de l’aire de quatre triangles rectangles, de deux triangles isocèles ou
de l’aire d’un triangle et de son symétrique.
Une formule possible apparaît en « entourant » le cerf-volant convexe par un
rectangle. La méthode est mise en défaut dans le cas d’un cerf-volant concave.
Les élèves de sixième constatent que malgré tout la formule repérée pour le premier
cas semble rester valable pour le second, mais ne savent pas pourquoi…
Le losange est ensuite présenté comme un cerf-volant particulier : ses deux diagonales
sont axes de symétrie. Des propriétés supplémentaires vont être justifiées : ses quatre
côtés sont égaux, ses diagonales se coupent en leur milieu, ses angles opposés ont
même mesure.
Pour calculer son aire, la formule mise en avant pour le cerf-volant reste valable.
Les tracés de cerf-volant ou de losange peuvent être mis à contribution pour le tracé
du symétrique d’un point par rapport à une droite.
Un segment [AB] admet deux axes de symétrie : la droite qui
porte le segment et une deuxième droite d telle que le point A
soit le symétrique du point B par rapport à cette droite.
Les propriétés de la symétrie permettent alors de justifier les
propriétés de la médiatrice d’un segment : elle est
perpendiculaire à la droite qui porte le segment, elle passe par le
milieu du segment, elle est l’ensemble des points équidistants
aux extrémités de ce segment.
L’axe de symétrie d’un triangle isocèle est la médiatrice de la base de ce triangle, l’axe
de symétrie d’un cerf-volant est la médiatrice de l’autre diagonale, chaque diagonale
d’un losange ou d’un carré est la médiatrice de la seconde diagonale.
La bissectrice d’un angle est la partie de l’axe de symétrie qui
est à l’intérieur de l’angle.
Conséquences :
La bissectrice d’un angle partage cet angle en deux angles
superposables.
L’axe de symétrie du triangle isocèle est la bissectrice de l’angle au sommet.
La médiatrice de la base d’un triangle isocèle est aussi la bissectrice de l’angle au
sommet.
L’axe de symétrie du cerf-volant est la bissectrice des angles qu’il traverse.
La médiatrice de la diagonale qui n’est pas axe de symétrie est la bissectrice des angles
traversés par l’axe de symétrie.
Les axes de symétrie du losange et du carré sont les bissectrices des angles qu’ils
traversent.
Les diagonales du losange et du carré sont les bissectrices des angles qu’ils traversent.
Il est ensuite temps de faire rencontrer d’autres quadrilatères qui ont autre chose qu’une
diagonale comme axe de symétrie :
Avec un axe de symétrie, nous obtenons le trapèze isocèle (hélas hors programme
dans l’enseignement secondaire…).
Avec deux axes de symétrie, nous obtenons le
rectangle.
Si je considère le carré comme un losange particulier, son aire sera égale à
« (diagonale × diagonale) : 2 ».
Si je considère le carré comme un rectangle particulier, son aire sera égale à
« côté × côté ».
Les élèves ont été très surpris de ces deux formules d’aire pour le carré…
Voici quelques intérêts que je vois dans cette approche :
Il possible de faire faire des raisonnements déductifs à des élèves de sixième.
Il est possible de faire travailler avec des aires de jeunes élèves (l’aspect mesure
est clairement favorisé dans ce travail, il reste à proposer d’autres tâches
permettant la comparaison d’aires et l’étude de figures de même aire).
Le cerf-volant introduit récemment dans les programmes trouve ici toute sa place.
La « boite à outils » mise à disposition des élèves est d’un usage aisé : elle
contient les propriétés de conservation de la symétrie orthogonale et les éléments
de symétrie des objets mathématiques rencontrés.
J’ai fourni l’ensemble des documents utilisés en classe aux collègues présents à
Besançon qui le désirait. Ils vont tester à leur tour cette approche. J’attends leurs
remarques (et celles des lecteurs de ce compte-rendu).
Des interrogations demeurent :
J’ai fait tracer dès septembre des carrés et des rectangles. Je ne les rencontre de
nouveau que tardivement dans cette approche. Cela n’avait pas perturbé mes élèves,
mais était-ce le bon choix ?
Des collègues étaient un peu perturbés que le triangle isocèle ne soit pas défini
comme un triangle ayant deux côtés égaux. Je suis revenu assez vite en classe sur la
définition classique entendue par certains en cycle III et j’ai dit à mes élèves qu’en
sixième nous privilégierions ce qui utilise la symétrie orthogonale. Après tout, en
classe de cinquième, le parallélogramme n’est pas défini comme le quadrilatère obtenu
en croisant deux bandes à bords parallèles…
Ce qui a été présenté aurait sans doute besoin d’être affiné, amélioré, transformé…
Mon but dans ce travail était de tenter de donner un peu de sens dès la classe de
sixième à la géométrie des transformations des programmes de collège.
